Me alegra saber que hasta Apple piensa que donde esté un buen teclado físico…algún que otro agorero vaticinaba el fin de los teclados físicos 😀
De 
Aunque lo táctil o virtual (además de los gestos y la voz) es lógico que se impongan como sistemas de entrada de datos en la mayoría de ámbitos, el teclado ahora mismo es imprescindible. Pero ello no implica que no se pueda mejorar.
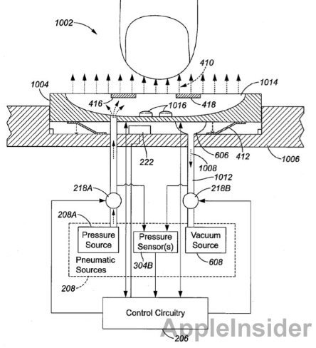
Apple tiene una patente que solucionaría la pérdida recorrido de los teclados delgados. Mediante un sensor de proximidad, Apple piensa que podría resolver ese problema con ayuda de un sistema neumático o un emisor de aire.
El aire que saldría de las teclas acrecentarían la sensación física de estar tocando un teclado con mucho recorrido, como los que estamos acostumbrados a manejar. O entraría en acción el sistema neumático.


Deja un comentario